Skip to content

Push-Pull Bracket SPPB-LW

Bracket between the push-pull unit and the beam.

Features & benefits

  • Efficient when there is limited insertion space
Show all

About the Push-Pull Bracket SPPB-LW

Specifications

Choose unit system
Details
Article number
100.003.315
Basic specifications
model
SPPB-LW
Dimensions, weight and temperature
weight, ready for use
9.5 kg
weight, ready for use
20.9 lb
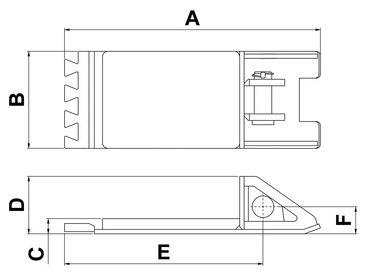
Technical drawing dimensions
dimension A
472 mm
dimension A
18.6 in
dimension B
179 mm
dimension B
7 in
dimension C
28 mm
dimension C
1.1 in
dimension D
106 mm
dimension D
4.2 in
dimension E
366 mm
dimension E
14.4 in
dimension F
50 mm
dimension F
2 in

Technical Drawing

Skidding System Push / Pull Bracket LW

Features

Low construction height; total height is 56 mm (2.20 inches)
  • Efficient when there is limited insertion space
Lightweight components with optimally placed grips
  • Easy to carry, handle, position and assemble by one or two persons (no forklift needed)
  • Reduces the physical burden
  • Maximum performance at a minimum weight
Modular system
  • Easy to adapt to different load sizes and projects
  • Plug and play; easy to assemble without the use of extra equipment

Downloads

SPPB-LW, Spec sheet, A4 metric

SPPB-LW, Spec sheet, Letter imperial

document--blank

Levantamento Pesado e Transporte

document--blank

Lifting Solutions – Industrial Tools

Skidding System Push / Pull Bracket LW

Compare products
Select your region
Select your language